【美国市政债案例】加利福尼亚州洛杉矶市固体废物资源收入债券2023-A
来源: | 作者: 泓创智胜 | 发布时间: 922天前 | 554 次浏览 | 🔊 点击朗读正文 ❚❚ | 分享到:

信息来源


 Municipal Securities Rulemaking Board: EMMA(https://emma.msrb.org/)


CITY OF LOS ANGELES

$173,490,000

SOLID WASTE RESOURCES REVENUE BONDS,

SERIES 2023-A


该债券为美国市政债券,该债券的发行主要用来为洛杉矶市购置新的车辆和设备,旨在确保全市固体废物的收集、回收和处置的连续性,该项工作与我国专项债券领域中的城镇垃圾处理项目有相似之处,因此对于我国专项债券工作具有一定的借鉴意义。

一、项目背景

洛杉矶(Los Angeles),位于美国加利福尼亚州西南部,是美国第二大城市,也是美国西部最大的城市,常被称为“天使之城”(City of Angels)。洛杉矶面积约1215平方公里,城市中心坐标为北纬34°03′、西经118°15′,全市拥有约408.67万的人口(2019年)。2019年,洛杉矶的地区生产总值为7109亿美元。
洛杉矶是美国重要的工商业、国际贸易、科教、娱乐和体育中心之一,拥有世界电影中心好莱坞,也是美国石油化工、海洋、航天工业和电子业的主要基地之一。洛杉矶还拥有加州理工学院等世界知名的高等教育机构
2016年,洛杉矶的人口已达到397.6万。其中,洛杉矶的本地人占81.7%,来自其他国家的移民占11.2%,其中华人最多,占7.1%,德国人占1.5%,波黑人占1.1%,土耳其人占1%,塞尔维亚人占1%,其他民族占6.6%。2019年,洛杉矶的人口已达到408.67万。

二、债券信息

1.发行情况
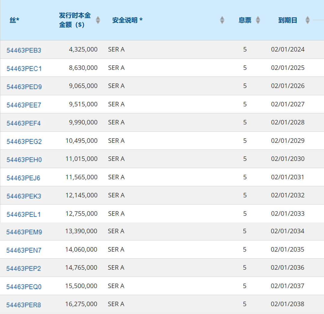
截至目前该债券共计发行15批次,累计发行17349万美元,发行情况如下:
图片
2.债券评级
该债券获得穆迪评级为:AA2,惠普评级:AA。债券评级较高。
3.债券资金用途
发行2023-A系列债券的目的是:(A)为购买城市垃圾收集和处理系统(“系统”)设备,包括车辆和其他物品,以及为安装这些设备提供资金;从多户住宅收集笨重的车辆、设施;建造和翻新房地产以及其他的基础建筑设施;(B)支付2023-A系列债券的发行成本。

这些项目包括385辆新的和更换的车辆和设备,包括32辆车,61辆新车/设备。324辆车辆中包括183台自动侧装装载机、47台后装装载机和94辆其他杂项车辆/设备;61辆新车/设备包括35台后装载机、13辆用于支持垃圾填埋场运营的车辆,以及13辆用于支持2022-23财年扩大计划的车辆。

三、总结

该项目与我国城镇垃圾处理项目有着相似之处,不同的是,该项目的债券资金主要被用来购置车辆和设备,并未形成较多的实物工作量,因此与我国的专项债券项目还是存在着较大的差异,只具有一定的参考价值。


关注官方微信公众号,

了解更多资讯